旋轉補償器具體安裝指導說明
潤泰達管道設備有限公司十年的從業經驗,積累了豐富的產品生產經驗,核心技術,更加奠定了“質量為首、精益求精”的經營思路。接下來我們為您詳細介紹下旋轉補償器的安裝注意事項:
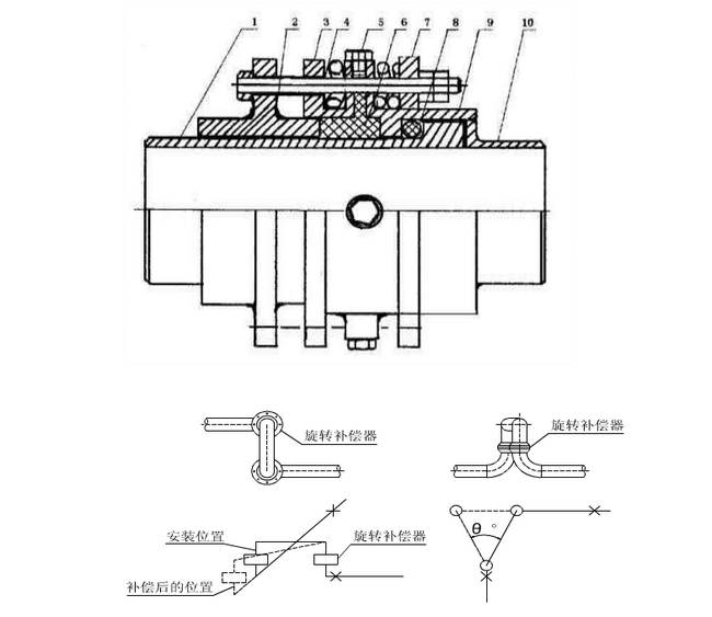
旋轉補償器是熱力管道熱脹方面的一種新型補償器,如圖所示圖(1) ,旋轉補償器的主要構造是有整體密封座、密封壓蓋、密封材料、大小頭、減少摩的定心軸承、旋轉筒體等構件組成,在熱力管道安裝的時候需要兩個以上成組,對應旋轉吸收管道的熱位移,這樣減少管道的應力,降低對管道的損耗。旋轉補償器在管道上安裝一般按照 150-500m 安裝一組(特殊情況可根據自然地形確定)有十幾種安裝形式,可以根據管道的走向來確定布置形式。采用補償器后,固定支架間距加大,為了避免管道段撓曲要適當增加導向支架。為減少管道運行的摩擦阻力,應在滑動支架上安裝滾動支座。
圖(1)
旋轉角度越大和力臂越長,其補償量越大。對于單個旋轉補償器來說,回轉角度是可以任意的,但由兩個旋轉補償器與力臂、管道組成連桿機構時,需要考慮這個機構是否會相碰或者卡死。熱膨脹時使旋轉角度小于90度,冷收縮時才能返回原來的位置。同時,旋轉時,還要克服摩擦力,要留出足夠的裕度,一般取20~45度,具體視其布置方式和管徑大小而定,管徑小時取較大值。同時,力臂較長時產生的橫向位移較大,可能會使管道產生彎曲破壞,必須引起注意。為了增加補償量,在安裝管道時,采用預變位的方法,及反方向旋轉所需角度的一半。因為旋轉補償器沒有波形膨脹節的疲勞壽命問題,可把旋轉角度的允許值提高一倍,這樣也可以減少魔摩擦力,增強管道的穩定性。旋轉補償器的優點是不產生內壓推力,沒有波紋管的剛度要求,可用較厚的厚度,特別適用于高壓力和大補償量的補償器。
1.直管段受熱的熱膨脹量:
△x=α×L×(t2-t1)
α—管材的線膨脹系數;L—直管段長度;t1—管道安裝設計溫度;t2—管道內介質溫度;常用鋼材線膨脹系數如下圖(2):
圖(2)
2.∏型組合安裝要點
①∏型組合補償原理如下圖(3):
圖(3)
②旋轉補償器臂高H: H=2×1.5DN+產品長度(特殊情況可適當加長或縮短)
③旋轉補償器力偶臂L、旋轉角θ:
L= △x/2Sin(θ/2)
θ=2arcSin(△x/2L)
安裝時如果空間條件允許,為了減小徑向擺動量和對固定支架的軸向推力,L值可適當取大些,旋轉角θ可適當取小。
一般L臂長推薦取以下值:圖(4)

圖(4)
旋轉角θ需滿足如下表格限制圖(5)
圖(5)
④徑向擺動量△y
∏型組合在吸收熱膨脹時,當力偶臂旋轉到θ/2時,管道將出現較大的離心徑向擺動量△y,△y計算公式如下:圖(6)
圖(6)
△y過大對補償器正常運行造成危害,因此離補償器率先的導向支架的布置距離要加大,參加下表;同時必須在靠近補償器兩側管道下面安裝平面滑動支架,以承擔補償器級管道重量。△y不宜超過80mm。圖(7)
圖(7)
⑤長距離補償導向支架間距:
因旋轉補償器的補償量特別大,所以固定支架間距也隨之增大,其間距一般由設計管段的補償量大小決定,為避免長距離管道撓曲失穩,需在一定距離內安裝導向支架,同時為減小管段運行的摩擦阻力,在導向支架上應安放滾動支座,導向支架間距如下表:圖(8)
圖(8)
⑥旋轉補償器對固定支架產生的軸向推力FM圖(9)
圖(9)
Mk—旋轉通摩擦力矩;L—旋轉臂長;θ—旋轉角;μ—管托與支架間摩擦系數;G—固定支架至補償器范圍內介質、管道、隔熱材料等重力。其中Mk見下表:圖(10)
圖(10)
⑦旋轉補償器預偏裝
為減小旋轉補償器對固定支架的推力,應對旋轉補償器進行預偏裝,偏裝量m等于補償量△x的一半,及△x/2。
3.Ω型布置安裝要點:
①Ω型布置原理: 圖(11)
圖(11)
②臂寬H:
H=2×(2×1.5DN+產品長度)
③補償間距B:
B=2LSin(θ/2);L=B/2Sin(θ/2);θ=2arcSin(B/2L)
設計時B存在一個較小值Bmin:
Bmin=△x+DW+δ+施工空間(一半取≥70mm)
DW—管道外徑;△x—兩側管道熱膨脹量和;δ—兩側管段單邊保溫層厚度之和
④其他:
與Π型組合相同。
- 上一篇:旋轉式補償器在熱力管網中的作用解析 2017/7/15
- 下一篇:旋轉補償器有效的滿足了熱管網建設使用要求 2017/7/15














